这两天朋友小C问我,有没有什么比较好用的库存管理系统用,“我们业务很简单,其实就需要一个表,然后可以入库出库就行”。小C也找了不少系统试用,要么功能太复杂,用不到,要么贵,然后用excel凑合先顶着,但是协作起来又很麻烦,每次还得花时间对表。
“要不试试用多维表格自己搭一个?反正你们也用飞书”,不用买软件,不用学代码,直接在飞书里面免费搭建,小白也可以很快上手,关键是想怎么改就怎么改,非常灵活!
而且多维表格新上了应用模式,对用户使用更加友好了。
于是我们花半个小时搭建了一个轻量的库存管理系统,可以管理物品,还可以入库出库,库存数量自动变化,也支持不同角色的权限设置。

小C惊讶到:“现在飞书都发展到这个程度了啊”。那不止库存管理,其他我们的轻量化需求,都可以用多维表格搭建和使用了,也不用等IT排期,成本也降了不少。
那今天我们就以这个库存管理系统为例,来讲讲是如何用多维表格和它的应用模式来搭建的。
目录
一、4步搭基础:用多维表格建“库存管理”
要用多维表格搭建一个应用系统,其实核心就是五个步骤
第1步:建立“核心数据表”
我建了3张数据表,覆盖从物品管理到出入库的全流程:
| 表名 | 字段举例 | 作用 |
|---|---|---|
| 库存信息表 | 物品编号(唯一ID)、物品名称、规格型号、剩余库存、货品照片 | 记录物品的“基本信息” |
| 入库管理表 | 入库单号、关联入库物品编号、入库物品名称、入库数量、入库人、入库日期 | 记录每一次的入库 |
| 出库管理表 | 出库单号、关联出库物品编号、出库物品名称、出库数量、用途、出库领用人、出库日期 | 记录“每一笔操作”的凭证 |
后续所有的操作都是基于这三张表来的,所有字段的设计、包括字段之间的逻辑关系,就非常的重要。
这一步不要太着急,先想好再搭建,不然后面再改起来就很麻烦了。
我们就用这几个基础的字段来举例

如何搭建? 我们在左侧新建三张数据表,然后命名

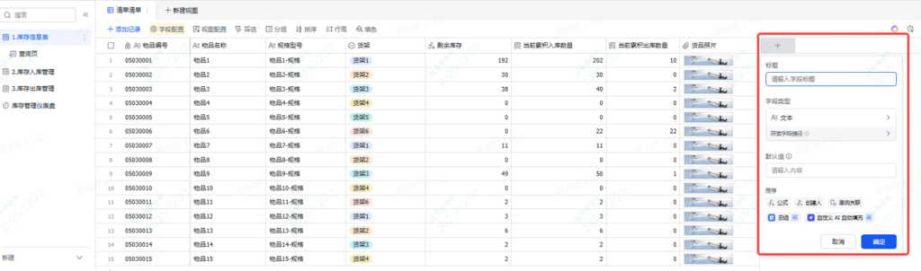
在每个数据表里,我们点击+号来添加字段

最终把这三张表建立起来。
第2步:表间“连上线”
三张表建立起来后,它们之间是相互独立的,但实际上来说,不同表之间肯定会有一些关联。
比如说:
我在表2和3做入库和出库操作的时候,肯定要选择物品名称,但这个物品名称是在表1里。
也就是说,我在入库和出库时需要可以选择到表1库存信息表里的物品名称。
这样,当我填写的了入库和出库数量时,对应库存信息表里的物品库存也会相应的增加和减少。
以入库管理为例,入库时,我们需要选择物品编号,这个物品编号的字段,我们选择“单向关联”类型
关联的数据表就是库存信息表

这个时候当我们点击字段,会有一个弹框,这个弹框就是库存信息表里的内容。我们选择需要入库的物品

选择了编号后,如果只看编号,可能看不明白,最好可以把物品名称也展示出来

这里就用到“查找引用”的字段类型。简单来说,就是通过我选择的物品编号,自动把对应的物品名称带出来展示即可。

入库表的关键的配置就是以上了,
同样的,出库表也是一样的道理。
通过这一步,我们就把这三张表的逻辑关系建立起来了。
第3步:设“公式”
还有一个重点,计算库存。
在库存信息表中,剩余库存的字段,用来展示目前物品剩余的库存数

剩余库存的计算逻辑很简单,实际上就是这个表里的“当前累积入库数量 – 当前累积出库数量”
写一个公式就行

重点是当前累积入库数量和当前累积出库数量这两个数据是如何来的。
先说当前累积入库数量
这里用了一个查找引用的字段类型

逻辑就是,查出来入库表里同样的物品编号的物品,对应的入库数量的求和数量,也就是累计入库数量了。
同样的,出库数量也是一个逻辑

以上字段逻辑配置完成后,就可以实现库存的自动增加和减少了。
第4步:分“权限”——不同角色的不同权限
举个简单的例子
- 普通员工:只能查看数据
- 仓库管理员:可以修改数据
在多维表格右上角开启高级权限

在高级权限中,我们可以设置不同角色,以及每个角色拥有的表格权限,数据权限,和字段权限

高级权限这里做的还是非常细致的。
以上几步做完之后,这个库存管理应用就算搭建起来了,可以开始正常使用了。
这里就会经常有朋友会问了, 感觉还是在用一个excel表,虽然比excel表多了自动化和权限的功能,但还是很难上手。其实你面对小白用户也很难解释多维表格和excel的区分,只能花时间去教他们上手使用。
不过现在好办了,多维表格的新功能,应用模式,可以很好的解决这个问题
可以看以下对比

会发现应用模式更像我们经常用的IT系统的页面,更符合用户的使用习惯,上手也快。
而且,这个应用模式,底层其实就是我们搭好的多维表格,它只是在更上面装了一层好看的皮。
并且,操作很简单,完全不需要代码,拖拉拽就可以配置完成,搭建出一个看着很专业的系统。
接下来就聊聊如何搭建出这样的效果
二、应用模式“包装”:把表格变“系统页面”
给表格“穿上专业外套”!原来密密麻麻的表格,秒变像APP一样的操作页面。按这几个步骤来,你也可以立刻上手。
第1步:创建多维表格空间
我们先在多维表格里,新建一个空间


这个空间,可以理解为一个系统的感觉,你可以给里面放不同的应用,不同的表格。
比如我们就命名为库存管理模块。
第2步:新建应用,添加多维表格
空间建好了后,我们需要给里面放东西。
以我们目前的需求,我们就新建一个应用,然后添加上我们最开始建立的多维表格

你可以这么理解,应用就是我们库存管理系统的外衣,多维表格,就是底层的数据表。
应用里面的数据都是从多维表格里来的。
这样说,是不是对空间、应用和多维表格的关系就清晰很多了?
第3步:配置应用
我们来到应用的页面,按你想要的样式来配置即可。
首先我们新建所需要的菜单

以首页为例,我们在首页创建几个快捷入口,以及列表展示的效果。
在页面里面,都是由各种各样的组件组成的,所以,我们添加并选择所需的组件,在页面拖拉拽成想要的样式

快捷入口的效果,我们用“按钮”组件,在配置栏里面,配置点击按钮所需要的链接

列表样式,就使用列表组件。

有关列表组件的用法,我在之前的文章里有介绍过, 就不详细说了
飞书多维表格能用来搭美美的网页吗?今天这一篇手把手教你 [多维表格应用模式]
这里就说一下查看详情和新增物品的两个按钮:
这两个按钮会让整个列表少了些excel味,看着更像系统

- 查看详情:首先我们要先去多维表格底表上,增加一个查看详情的按钮

接着再到应用页面里,把按钮设置为可见。

- 新增物品:在列表自定义设置这里,开启“允许添加记录”的按钮即可,这样,当你点击按钮时,就会有一个新增物品的页面,看着很像我们平时使用的系统。

最后再说一下搜索,比如我们希望搜索某个物品的库存

这里就需要用到切片器的组件,选择搜索的范围、字段和样式

这样下拉的时候就可以搜索和选择来完成筛选了。

配置好页面后,点击右上角的完成编辑。就可以复制这个链接给到其他用户来使用了

这里在实际使用过程中还存在一个痛点,如果用户要批量入库怎么办? 毕竟多维表格本身只支持一行一行添加。
直接把excel数据复制到多维表格是一种方法。
还有一种方法,可以用飞书aily,也就是通过AI功能来批量入库,你直接把excel发给aily,aily自动帮你添加到入库表里。 如果用aily实现,这期先不详细说,后面再单独写。
到此就算是配置完成了。全程不需要写代码,配置好多维表格,然后在应用里拖拉拽就可以了。非常适合搭建一些轻量化的应用。
看完之后其实我们也会感受到应用模式的优势:
- 界面更友好
- 自定义页面布局,不再是密密麻麻的表格
- 大按钮、大字体,手机操作也不费劲
- 图标化展示,一眼就能看懂
- 操作更简单
- 常用功能放在显眼位置
- 复杂操作简化成一键完成
三、实战经验:用了1个月,省了多少事?
跑了1个月,效果很好:
- 效率提升:以前查库存要翻3张Excel表,现在打开应用点一下,10秒出结果;出入库录入错误率也下降了50%
- 成本节约:避免缺货损失,客户满意度提升,也节省了专业软件采购费用
- 管理更顺:库存准确率提升10%,老板看报表再也不用追着我要数据。大家协作的效率和领导决策的效率都大大提高。
用飞书搭系统,最难的不是技术,是“懂自己的业务”——先想清楚“我需要系统解决什么问题”,再用表格和应用模式把需求“翻译”成功能。
不妨从建第一张“数据表”开始,不用一步到位,先搭个能用的,再慢慢优化。最好的系统不是最复杂的,而是最适合你业务的那一个。
最后再说一个事儿
多维表格可以作为单品来使用了,也就是说你不用下载飞书,不用绑定飞书其他的各种功能,就单独使用多维表格就好,这样就非常轻量化了。
宣布一个福利:
通过我的专属邀请码注册飞书多维表格,就可以免费获得三个月的专业版(除注册即送的1个月专业版(价值349元/年),额外加赠2个月,合计免费体验3个月。)
操作很简单
Step1:打开飞书多维表格单品的官方注册网址→https://fcna6swh3rtl.feishu.cn/share/base/form/shrcn8BkxqoKYeA6XyZZAB7zK73
Step2:输入手机验证码后,就可以跳转填写邀请码
邀请码:New2S2bI8sS2sT



For those in the North, minhngocmb looks like a good resource for checking your lottery results. Good luck lads, hope you hit the jackpot!
**backbiome**
backbiome is a naturally crafted, research-backed daily supplement formulated to gently relieve back tension and soothe sciatic discomfort.
**boostaro**
boostaro is a specially crafted dietary supplement for men who want to elevate their overall health and vitality.
**vivalis**
vivalis is a premium natural formula created to help men feel stronger, more energetic, and more confident every day.
**balmorex pro**
balmorex is an exceptional solution for individuals who suffer from chronic joint pain and muscle aches.
**glycomute**
glycomute is a natural nutritional formula carefully created to nurture healthy blood sugar levels and support overall metabolic performance.
**aquasculpt**
aquasculpt is a revolutionary supplement crafted to aid weight management by naturally accelerating metabolism
**synadentix**
synadentix is a dental health supplement created to nourish and protect your teeth and gums with a targeted combination of natural ingredients
**nervecalm**
nervecalm is a high-quality nutritional supplement crafted to promote nerve wellness, ease chronic discomfort, and boost everyday vitality.
**prostavive**
prostavive Maintaining prostate health is crucial for mens overall wellness, especially as they grow older.
**yu sleep**
yusleep is a gentle, nano-enhanced nightly blend designed to help you drift off quickly, stay asleep longer, and wake feeling clear
**gl pro**
glpro is a natural dietary supplement designed to promote balanced blood sugar levels and curb sugar cravings.
**nitric boost**
nitric boost is a daily wellness blend formulated to elevate vitality and support overall performance.
**mind vault**
mindvault is a premium cognitive support formula created for adults 45+.
**vertiaid**
vertiaid is a high-quality, natural formula created to support stable balance, enhance mental sharpness, and alleviate feelings of dizziness
**femipro**
femipro is a dietary supplement developed as a natural remedy for women facing bladder control issues and seeking to improve their urinary health.
**vitrafoxin**
vitrafoxin is a premium brain enhancement formula crafted with natural ingredients to promote clear thinking, memory retention, and long-lasting mental energy.
**glucore**
glucore is a nutritional supplement that is given to patients daily to assist in maintaining healthy blood sugar and metabolic rates.
**hepatoburn**
hepatoburn is a high-quality, plant-forward dietary blend created to nourish liver function, encourage a healthy metabolic rhythm, and support the bodys natural fat-processing pathways.
**sugarmute**
sugarmute is a science-guided nutritional supplement created to help maintain balanced blood sugar while supporting steady energy and mental clarity
**prime biome**
The natural cycle of skin cell renewal plays a vital role in maintaining a healthy and youthful appearance by shedding old cells and generating new ones.
**tonic greens**
tonic greens is a cutting-edge health blend made with a rich fusion of natural botanicals and superfoods, formulated to boost immune resilience and promote daily vitality.
**oradentum**
oradentum is a comprehensive 21-in-1 oral care formula designed to reinforce enamel, support gum vitality, and neutralize bad breath using a fusion of nature-derived, scientifically validated compounds.
**gluco6**
gluco6 is a natural, plant-based supplement designed to help maintain healthy blood sugar levels.
Yo, been playing on Appvay88 lately. Gotta say, it’s got a decent selection of games and pretty smooth gameplay. Give appvay88 a look if you’re trying to find a new spot to chill!
Alright, so logging into AW88 was a breeze. Seriously, no BS. Straight to the games. Worth checking out the ease of use alone. Hit up aw88login and see for yourself!
DK11game has some alright games. Nothing super groundbreaking, but good for killing some time. Give dk11game a look if you’re bored.
**finessa**
Finessa is a natural supplement made to support healthy digestion, improve metabolism, and help you achieve a flatter belly.
It is truly a nice and useful piece of info. I am happy that you simply shared this helpful information with us. Please stay us up to date like this. Thank you for sharing.
As a Newbie, I am constantly exploring online for articles that can help me. Thank you
**herpafend**
herpafend is a natural wellness formula developed for individuals experiencing symptoms related to the herpes simplex virus.
**alpha boost**
For men, feeling strong, energized, and confident is closely tied to overall quality of life. However, with age, stress, and daily demands
Hey very nice site!! Guy .. Excellent .. Superb .. I’ll bookmark your web site and take the feeds additionallyKI am glad to seek out so many helpful information right here in the put up, we want develop extra techniques on this regard, thanks for sharing. . . . . .
**biodentex**
biodentex is an advanced oral wellness supplement made for anyone who wants firmer-feeling teeth, calmer gums, and naturally cleaner breath over timewithout relying solely on toothpaste, mouthwash, or strong chemical rinses.
betmgm Georgia betmgm-play casino betmgm
Illuminate your nights with glowing bonuses and jackpots. In what is ignation, bright rewards shine through. Light up your gaming world!
Join the premier world of online gaming where endless fun awaits. Bovada VIP offers top table games and generous welcome bonuses for all players. With Bovada, enjoy premier wins and secure, reliable entertainment every day!
Big Bass Bonanza calls you to the water! Spin Bigger Bass Bonanza fisherman wild for scatters and unlock the ultimate fishing payout.
The most famous cascade engine ever built lives in zeus55. Zeus adds random multiplier madness to every qualifying tumble. Discover why everyone talks about Gates of Olympus.
sugar rush strategy = fun + fortune! Vibrant graphics, tumbling symbols and multipliers up to x5000. Spin and smile!
Spin and win the luckyland slots bonus! Register today for 7,777 Gold Coins + 10 Sweeps Coins—no deposit required. Enjoy free play with real prize redemption!
stake wheel game Originals + Pragmatic Play + Evolution + Hacksaw + Nolimit = unbeatable game selection. Crypto speed included.
Discover why betmgm casino games is the talk of the town. New players claim 100% up to $1,000 bonus and $25 On The House. The most rewarding casino online.
Don’t miss out on DraftKings casino promotions Casino’s massive welcome. Bet $5, score 500 spins, and enjoy up to $1K safety net for your first 24 hours. Slots, tables, live dealers—all elite!
Proc platit vic? Generika za zlomek ceny – navstivte opravdovalekarna.cz
opravdovalekarna.cz
Une pharmacie francaise en ligne, serieuse et fiable. Tous nos produits sont authentiques et issus de circuits officiels. Beneficiez d’une expedition soignee et discrete directement dans votre boite aux lettres. Parce que votre sante merite le meilleur.Acheter en ligne
Connect the millions enchanting big on fan maxxwins – the #1 real money casino app in America.
Reach your $1000 WITH IT AGAIN honorarium and turn every twirl, хэнд and somersault into real banknotes rewards.
Permanent =’pretty damned quick’ payouts, huge jackpots, and habitual fight – download FanDuel Casino in these times and start playing like a pro today!
FanDuel Casino is America’s #1 online casino, delivering constant thrills with ignition casino legit , restricted slots like Huff N’ Huff, and last affairs undertaking truthful at your fingertips. Mod players grab 500 Extra Spins added $40 in Casino Compensation exactly for depositing $10—added up to $1,000 disown on first-day net losses. Line all Thrillionaires: be adjacent to minute, play your approach, and upon every interest into epic wins!
vernon downs casino
References:
mmcon.sakura.ne.jp
**boostaro**
Boostaro is a purpose-built wellness formula created for men who want to strengthen vitality, confidence, and everyday performance.
**aquasculpt**
AquaSculpt is a high-quality metabolic support supplement created to help the body utilize fat more efficiently while maintaining steady, reliable energy levels throughout the day.
L’avenir du casino, c’est Betano. Obtenez 500 € de bonus de bienvenue https://betanogame.org/fr/bonuses/ et dГ©couvrez des machines Г sous et des croupiers en direct de premier ordre. Paiements en quelques minutes.
**mitolyn**
Mitolyn is a carefully developed, plant-based formula created to help support metabolic efficiency and encourage healthy, lasting weight management.
**purdentix**
PurDentix is a revolutionary oral health supplement designed to support strong teeth and healthy gums. It tackles a wide range of dental concerns
**citrusburn**
CitrusBurn is a Mediterranean-inspired thermogenic formula created to support a naturally slower metabolism, encourage efficient fat utilization.
**insuleaf**
InsuLeaf is a high-quality, naturally formulated supplement created to help maintain balanced blood glucose, support metabolic health, and boost overall vitality.
**prodentim**
ProDentim is a distinctive oral-care formula that pairs targeted probiotics with plant-based ingredients to encourage strong teeth, comfortable gums, and reliably fresh breath.
**boostaro**
Boostaro is a purpose-built wellness formula created for men who want to strengthen vitality, confidence, and everyday performance.
**nativegut**
NativeGut is a precision-crafted nutritional blend designed to nurture your dog’s digestive tract.
**primebiome**
The bodys natural process of skin cell renewal is essential for preserving a smooth, healthy, and youthful-looking complexion.
**prosta peak**
Prosta Peak is a high-quality prostate wellness supplement formulated with a comprehensive blend of 20+ natural ingredients and essential nutrients to support prostate health
**nervegenics**
NerveGenics is a naturally formulated nerve-health supplement created to promote nerve comfort, cellular energy support, antioxidant defense
**manergy**
Manergy is an advanced male vitality supplement created to help support healthy testosterone levels
**glpro**
GL Pro is a natural dietary supplement formulated to help maintain steady, healthy blood sugar levels while easing persistent sugar cravings.
**mounja boost**
MounjaBoost is a next-generation, plant-based supplement created to support metabolic activity, encourage natural fat utilization
Betano: big-screen energy in the palm of your hand. https://tikitakagm.org/pt/ Betano: play today, brag tomorrow, withdraw whenever.
Mostbet – 100% do 2250 zł + 250 darmowych obrotów już dziś. wpłata kryptowalutami Mostbet Mostbet – procentowy bonus plus darmowe obroty dostępne od zaraz.
Entre agora e descubra o cassino que estГЎ na boca do povo: Mostbet – https://mostbetpt.pro/ , Descubra o Mostbet: bГґnus de 125% + 250 rodadas grГЎtis para novos jogadores .
Mostbet-dЙ™ qeydiyyat = dЙ™rhal 250 FS + 125% – https://mostbetaz.ink/ , Mostbet-dЙ™ qeydiyyat = dЙ™rhal bonus vЙ™ pulsuz spinlЙ™r .
Unleash your inner winner — the table is hot – https://gntopama.com/wazamba-casino-review-2026/ , Spin like the casino personally insulted your wallet .
Soins du quotidien, beautГ© et santГ© naturelle : nous avons tout – https://gowork.fr/pharmacie-du-magny-sermamagny , QualitГ© premium, prix justes et conseils avisГ©s vous attendent .
ProDentim is a distinctive oral-care formula that pairs targeted probiotics with plant-based ingredients to encourage strong teeth, comfortable gums, and reliably fresh breath.
Valuable info. Lucky me I found your web site by accident, and I am shocked why this accident did not happened earlier! I bookmarked it.